Otomatik olarak çalışan tek hazneli hava vanası.
Küçük hacim, düşük ağırlıklı kompakt dizayn.
Büyük orifis, boru hattının doldurulması ve tahliyesi sırasında büyük hava kütlesinin tahliye alınmasını sağlar.
Küçük orifis, boru hattı basınç altında çalışırken küçük miktarlarda hava tahliye eder.
İki kademeli kapanma dizaynı ile darbesiz kapanma.
Yüksek tahliye kapasitesi.
Paslanmaz çelik iç aksam nedeniyle yüksek korozyon direnci.
Çap: DN 25-300
Basınç: PN 10-40

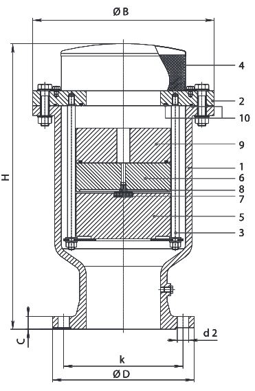
| PARÇA NO | PARÇA ADI | MALZEME |
| 1 | Gövde | Sfero döküm EN-GJS-400-15 |
| 2 | Kapak | ST37 |
| 3 | Flatör Kılavuzu | Paslanmaz Çelik X5CrNi18-10 |
| 4 | Üst Kapak | Paslanmaz Çelik X5CrNi18-10 |
| 5 | Flatör | HPDE |
| 6 | Flatör | HPDE |
| 7 | Küçük Orifis Contası | EPDM |
| 8 | Küçük Orifis | Paslanmaz Çelik X5CrNi18-10 |
| 9 | Flatör | HPDE |
| 10 | O-ring | EPDM |

Copyright @2020 Erberg Endüstriyel Ürünler İç ve Dış Tic. San. Ltd. Şti. | Designed by Telmar